
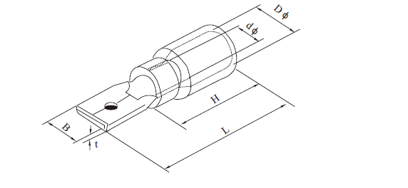
| 编 号 Item NO. | Mema Tab (mm) | 材料厚度 Thickness of material (mm) | 尺寸Dimension | |||||
| B (mm) | d φ (mm) | D φ (mm) | L (mm) | H (mm) | ||||
| 导线截面: 0.5~1.5mm² (22~16) 最大电流:Imax=10A | MDD1.25-110(8) | 0.8×2.8 | 0.8 | 2.8 | 1.70 | 4.3 | 17.7 | 10.0 |
| MDD1.25-187(5) | 0.5×4.75 | 0.5 | 4.75 | 1.70 | 4.3 | 20.0 | ||
| MDD1.25-187(8) | 0.8×4.75 | 0.8 | 4.75 | 1.70 | 4.3 | 18.5 | ||
| MDD1.25-250 | 0.8×6.35 | 0.4 | 6.35 | 1.70 | 4.3 | 21.0 | ||
| 导线截面: 1.5~2.5mm² (16~14) 最大电流:Imax=15A | 0.5×4.75 | 0.5×4.75 | 0.5 | 4.75 | 2.3 | 4.3 | 20.0 | |
| 0.8×4.75 | 0.8×4.75 | 0.8 | 4.75 | 2.3 | 4.3 | 18.5 | ||
| 0.8×6.35 | 0.8×6.35 | 0.4 | 6.35 | 2.3 | 4.3 | 21.0 | ||
| 导线截面: 4~6mm² (12~10) 最大电流:Imax=24A | MDD5.5-250 | 0.8×6.35 | 0.4 | 6.35 | 3.4 | 5.7 | 25.0 | 14.0 |